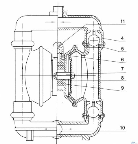
QBY隔膜泵的内部结构图
发表时间:2012-09-28 浏览次数:51314  〖返回列表

 QBY系列防爆隔膜泵是一种新型输送机械,采用压缩空气为动力源,对于各种腐蚀性液体,带颗粒的液体,高粘度、易挥发、易燃、剧毒的液体,均能予以抽光吸尽。

原创地址:http://www.bllpv.com/new.asp?cla=&id=111

Copyright © 2011 永嘉博罗利泵阀有限公司 浙ICP备19005367号-1 版权所有 电话:0577-67352816
http://www.bllpv.com 技术支持:联科科技 隔膜泵